JANSEN brandwerende glasdichting binnenkant, 6-7-8mm (2202)
De JANSEN brandwerende glasdichting type 2202 is een veelzijdige afdichting voor de binnenzijde van beglazing in brandwerende stalen kozijnen. Deze dichting is geschikt voor profielsparingen van 6, 7 en 8 mm en biedt een betrouwbare afdichting bij diverse brandwerende glasconstructies.
De dichting wordt toegepast aan de binnenzijde van het glas en draagt bij aan het behoud van de brandwerende eigenschappen van het kozijnsysteem. Dankzij de flexibiliteit in sparingsmaat is deze variant bijzonder geschikt voor projecten met wisselende specificaties.
Toepassing van brandwerende glasdichting binnenzijde
De glasdichting wordt gemonteerd aan de binnenzijde van brandwerend glas in stalen Jansen profielsystemen. De juiste toepassing is essentieel voor het behalen van de vereiste brandwerendheid.
• Montage aan de binnenzijde van beglazing
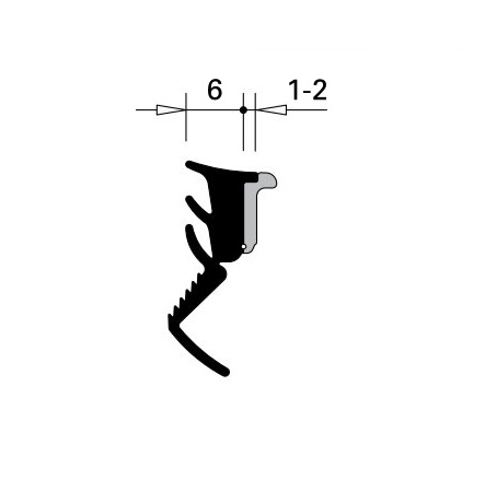
• Geschikt voor profielsparingen van 6, 7 en 8 mm
• Toepasbaar in Jansen stalen profielen
• Geschikt voor brandwerende deuren, puien en kozijnen
• Ideaal voor utiliteitsbouw zoals kantoren, zorginstellingen en openbare gebouwen
Voordelen
Deze brandwerende glasdichting biedt flexibiliteit en betrouwbaarheid binnen één product.
• Geschikt voor meerdere profielsparingen (6, 7 en 8 mm)
• Veelzijdig inzetbaar bij diverse projecttoepassingen
• Eenvoudig te verwerken en te monteren
• Betrouwbare afdichting en brandwerende prestatie
• Specifiek ontwikkeld voor Jansen stalen systemen
Specificaties
• Merk: Jansen
• Type: Brandwerende glasdichting (2202)
• Positie: Binnenkant beglazing
• Profielpassing: 6 mm / 7 mm / 8 mm
• Verpakking: Per 100 meter
• Toepassing: Brandwerende stalen kozijnen
Veelgestelde vragen
Waar wordt deze glasdichting toegepast?
Aan de binnenzijde van beglazing in brandwerende stalen kozijnen.
Wat betekent 6-7-8 mm?
Dit verwijst naar de profielspeling (sparing) tussen glas en staal, niet naar de glasdikte.
Is deze dichting geschikt voor brandwerende toepassingen?
Ja, deze ondersteunt de brandwerende werking van het kozijnsysteem.
Voor welke projecten is dit geschikt?
Voor utiliteitsbouw zoals kantoren, zorginstellingen en openbare gebouwen.
Hoe wordt dit product geleverd?
Per 100 meter.
Gerelateerde artikelen
Bekijk ook het andere model rubber Jansen glasdichting 6-7-8mm voor binnenzijde
JANSEN brandwerende glasdichting binnenkant, 6-7-8mm (2206) | Kozijn Parts
Bekijk ook dit model Jansen glasdichting voor binnenzijde in dunnere variant
JANSEN brandwerende glasdichting binnenkant, 4-5mm (2201) | Kozijn Parts
Bekijk ook ons assortiment Jansen rubber afdichtingen
Rubber afdichtingen | Kozijn Parts
Bekijk ook ons assortiment Jansen onderdelen
Jansen beslag voor stalen ramen en deuren | Topkwaliteit | Kozijn Parts













